Free shipping from 300€ incl. VAT
Free shipping from 300€ incl. VAT
Can't find what you need?
Not all parts are present on the site yet.
- Products ...
- Parts
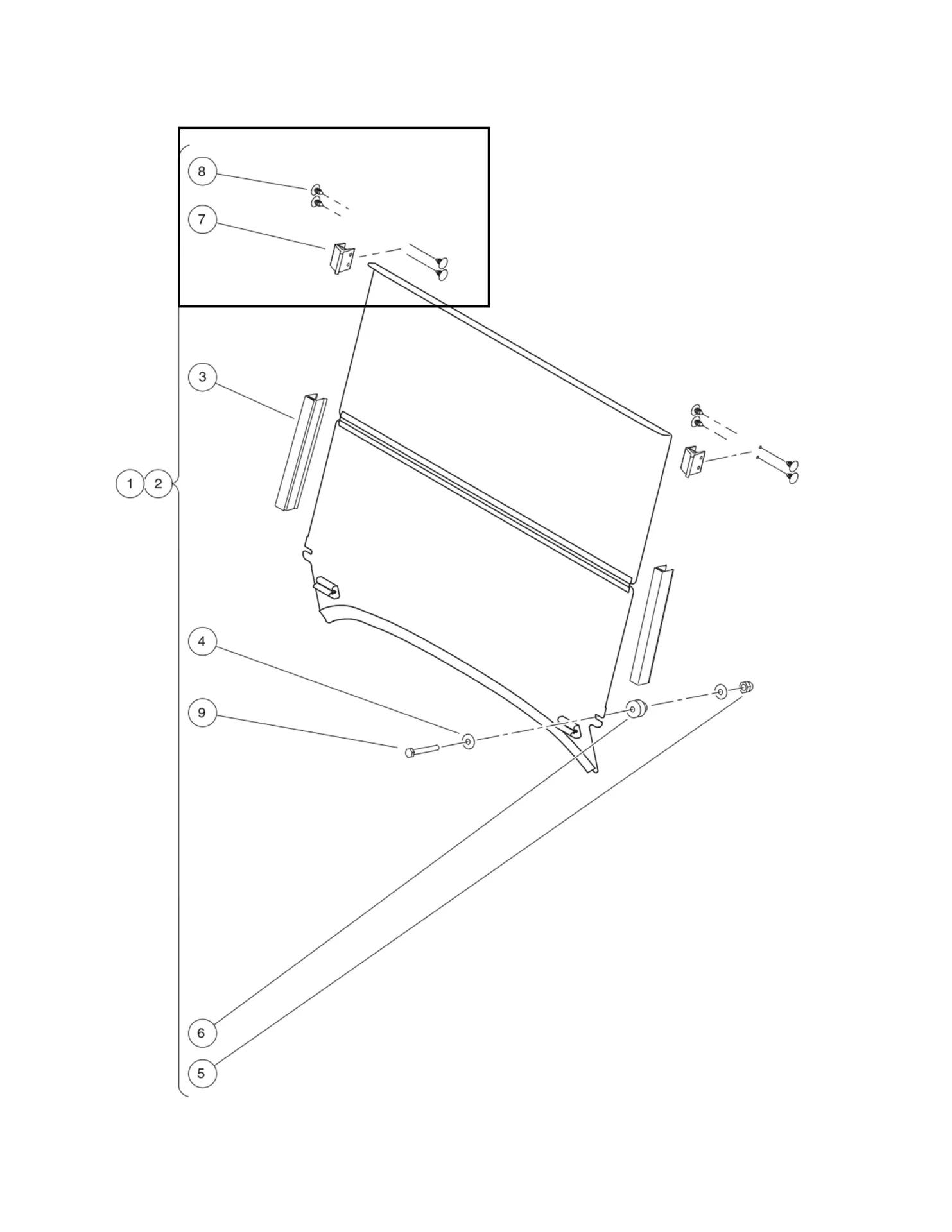
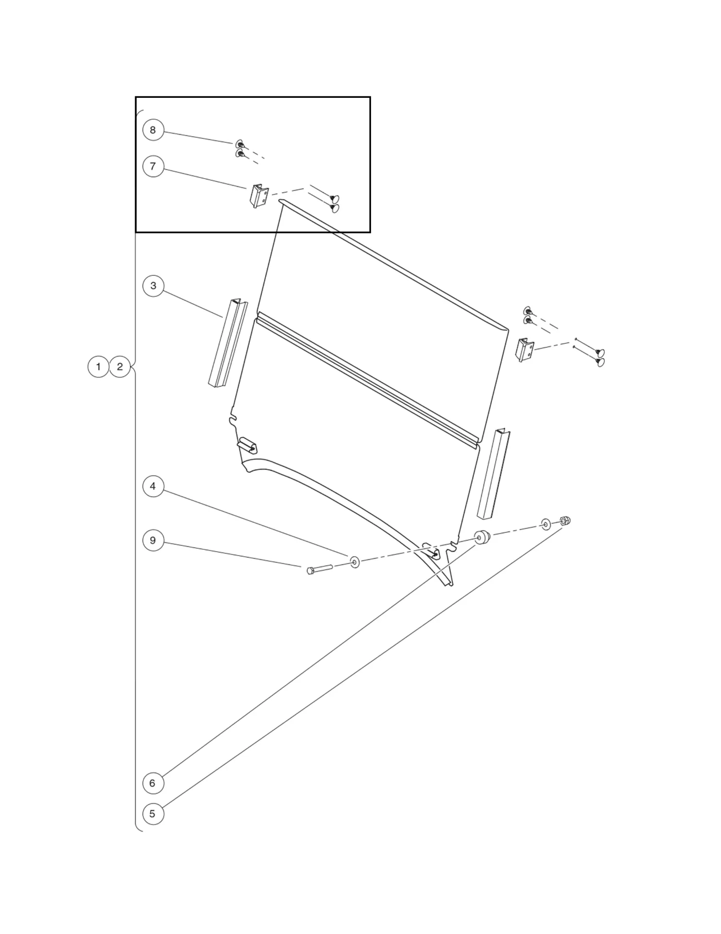
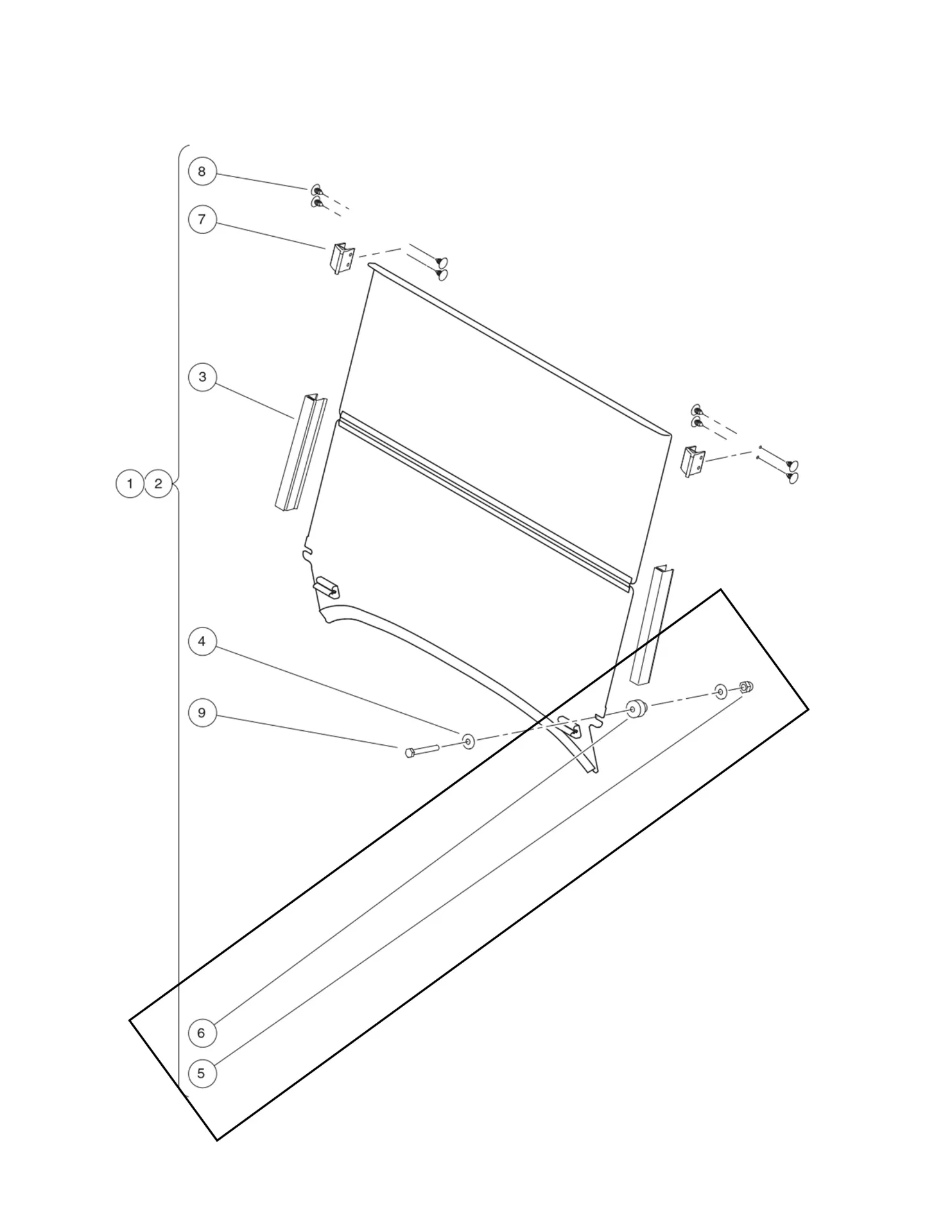
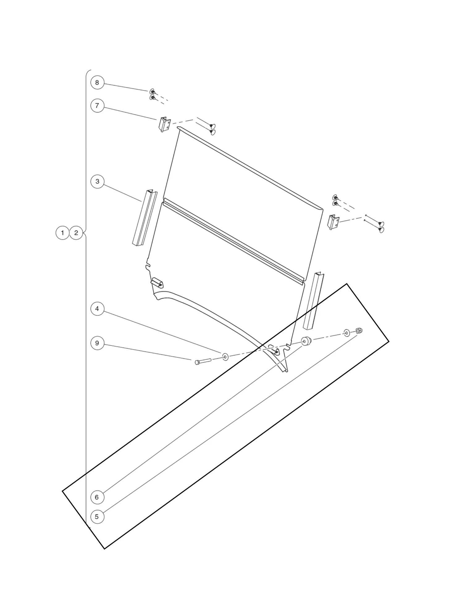
- Carrosserie
- windshields
Not all parts are present on the site yet.
Nous utilisons des cookies pour vous offrir une meilleure expérience utilisateur sur ce site. Politique relative aux cookies